Grooved Resilient Swing Check Valve
(SKYEG-84XSG-363/300/250/200)
Description
Fire valves are essential components in firefighting systems, designed to control the flow of water or other firefighting agents in emergency situations. They are commonly used in fire protection systems to ensure rapid and reliable water supply for sprinkler systems, fire hydrants, and other firefighting equipment. Fire valves play a critical role in safeguarding lives and property across various industries, including commercial, industrial, and residential buildings.
- •Connection Ends:Groove to AWWA C606
- •Working Pressure:300PSI/363PSI, 200PSI, and 250PSI available upon request
- •Temperature Range:0℃ - 80℃
- •Coating:Fusion Bonded Epoxy Coating in accordance with ANSI/AWWA C550 or painting upon request
Material Specification
|| = Other Options

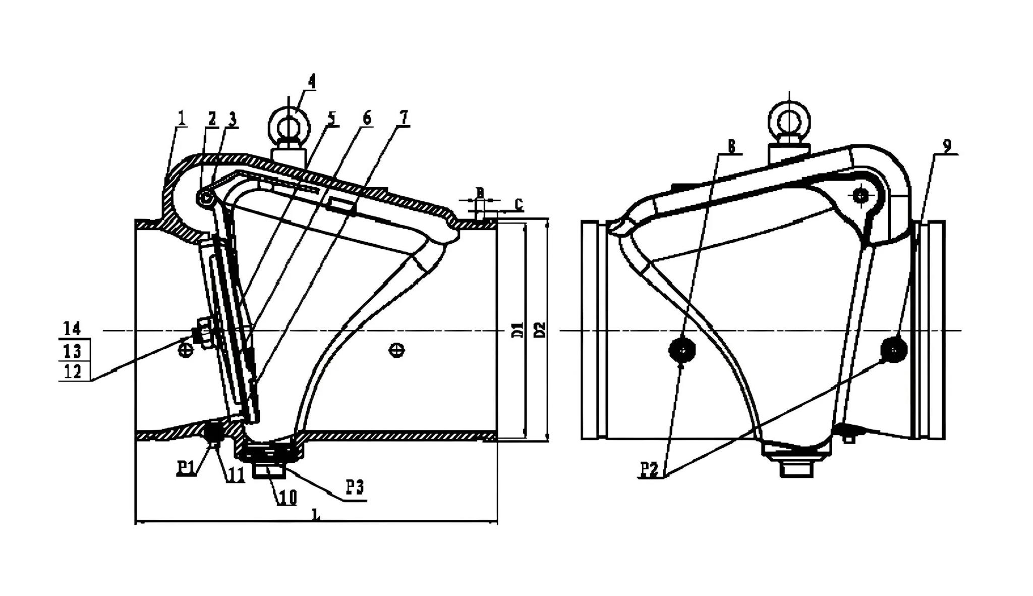
Dimensions
| DN | Dimensions (mm) | |||||||||
|---|---|---|---|---|---|---|---|---|---|---|
| Inch | mm | b | C | D1 | D2 | L | P1 | P2 | P3_STANDARD | P3_OPTIONAL |
| 2" | 50 | 7.93 | 15.88 | 57.15 | 60.3 | 171 | 1/2-14NPT | 3/8-18NPT | 1/2-14NPT | 1-11.5NPT |
| 2.5" | 65 | 69.09 | 73 | 184 | 1 1/4-11.5NPT | |||||
| 3" | 80 | 84.94 | 88.9 | 197 | ||||||
| 4" | 100 | 9.53 | 110.08 | 114.3 | 210 | 1/2-14NPT | 2-11.5NPT | |||
| 5" | 125 | 137.03 | 141.3 | 248 | ||||||
| 6" | 150 | 163.96 | 168.3 | 324 | ||||||
| 8" | 200 | 11.13 | 19.05 | 214.4 | 219.1 | 371 | ||||
| 10" | 250 | 12.7 | 268.28 | 273 | 457 | |||||
| 12" | 300 | 318.29 | 323.9 | 535 | ||||||




















