Flanged X Grooved Resilient OS&Y
(SKYEG-51GV-300/250/200)
Description
Fire valves are essential components in firefighting systems, designed to control the flow of water or other firefighting agents in emergency situations. They are commonly used in fire protection systems to ensure rapid and reliable water supply for sprinkler systems, fire hydrants, and other firefighting equipment. Fire valves play a critical role in safeguarding lives and property across various industries, including commercial, industrial, and residential buildings.
- •Connection Ends:Flange to ASME B16.1 CL 125 Groove to AWWA C606
- •Working Pressure:300PSI, 200PSI and 250PSI available upon request
- •Temperature Range:0℃ - 80℃
- •Coating:Fusion Bonded Epoxy Coating Complies with ANSI/ AWWA C550
Material Specification
|| = Other Options

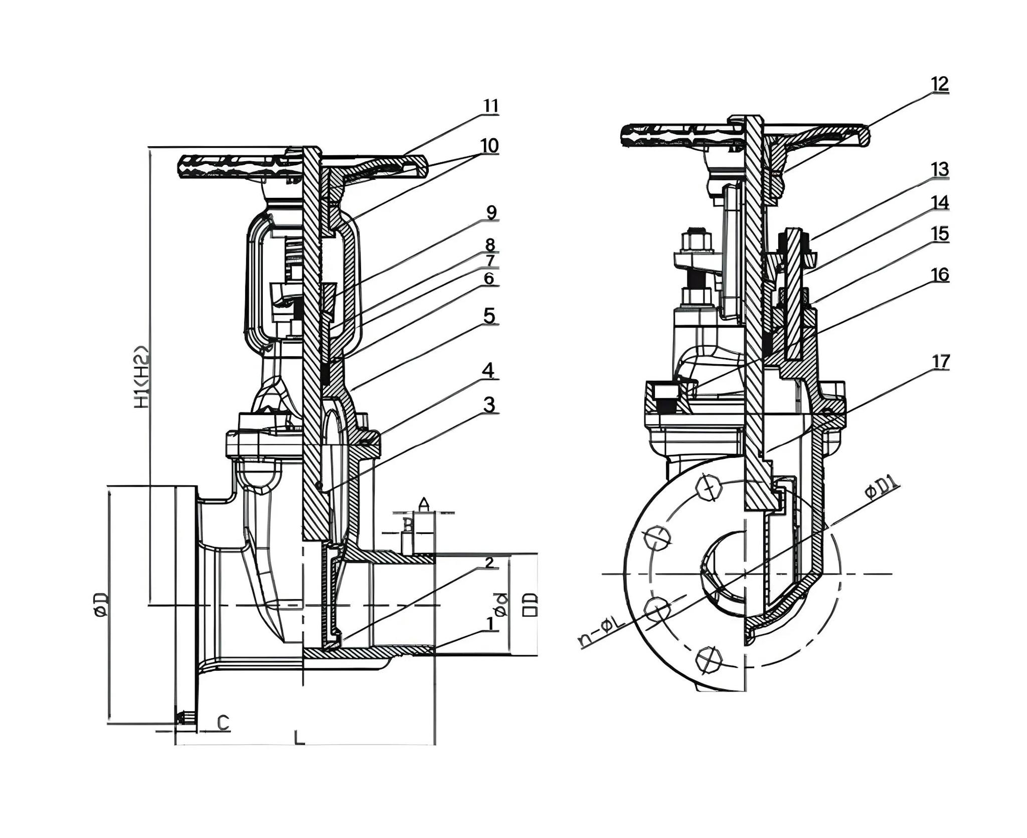
Dimensions
| DN | Dimensions (mm) | ||||||||||
|---|---|---|---|---|---|---|---|---|---|---|---|
| Inch | mm | A | C | D | D1 | d | H1_CLOSE | H2_OPEN | L | N-ØL | OD |
| 2" | 50 | 15.88 | 16.0 | 152 | 120.7 | 57.15 | 348 | 400 | 178 | 4-Φ19.1 | 60.3 |
| 2.5" | 65 | 17.5 | 178 | 139.7 | 69.09 | 373 | 440 | 190 | 4-Ø19.1 | 73.0 | |
| 3" | 80 | 19.1 | 191 | 152.4 | 84.94 | 408 | 490 | 203 | 88.9 | ||
| 4" | 100 | 229 | 190.5 | 110.08 | 471 | 573 | 229 | 8-Ø19.1 | 114.3 | ||
| 5" | 125 | 254 | 215.9 | 137.03 | 541 | 665 | 254 | 8-Ø22.2 | 141.3 | ||
| 6" | 150 | 279 | 241.3 | 163.96 | 601 | 755 | 267 | 168.3 | |||
| 8" | 200 | 19.05 | 22.2 | 343 | 298.5 | 214.4 | 744 | 975 | 292 | 219.1 | |
| 10" | 250 | 23.8 | 406 | 362. | 268.28 | 1029 | 1283 | 330 | 12-Ø25.4 | 273.0 | |
| 12" | 300 | 25.4 | 483 | 431.8 | - | 1065 | 1370 | 356 | 323.9 | ||




















